Decorative Concrete Cracking Control
Control Joint
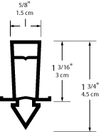
Control Jointâ„¢ is a PVC lineal contractual joint system for concrete crack control. Control Joint encourages the concrete to crack in a designated acceptable manner. Control Joint has excellent weatherability. It is virtually unaffected by chlorine and pool chemicals.
Description
Technical Data
Useful Downloads & Instructions
Description
Control Jointâ„¢ is a PVC lineal contractual joint system for concrete crack control.
- Designed with side fins to prevent the free flow of water to the subsoil.
- Made with high impact PVC and UV inhibitors.
- Installs quickly just after screeding but before any stiffening starts.
- A Control Joint and Expansion Base combination can be used to stop and restart a concrete pour.
Available Accessories:
Technical Data
Control Joint  – Technical Data
|  Product Detail | Description |
| Coverage | 396 ft per carton (120.7 m) |
| Contents | 33 – 12 ft lengths (3.66 m) |
| Carton Measurements | 148″ x 8″ x 8″ (376 cm x 20.5 cm x 20.5 cm) |
| Weight | 65 lbs (29.5 kg) |
| Shipping Information | Freight Truck, Ocean, or Air |

Control Joint Colors
|  Product SKU | Description |
| CJC | Control Joint – Charcoal |
| CJG | Control Joint – Gray |
| CJM | Control Joint – Marble |
| CJT | Control Joint – Tan |
| CJW | Control Joint – White |
Useful Downloads & Instructions





